

Denne shop er kun for erhvervskunder. Privatkunder henvises til Marineworld.dk.
Kædestopperen holder kæden og tager belastningen af ankerspillet, sætter og holder på ankeret, trækker ankeret fri eller forhindrer utilsigtet frit fald af ankeret mens undervejs.
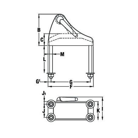
Højdetilpasser 8mm / 10mm (5/16 “-3/8”) kæde.
Windlasses are not designed to hold the high loads that can be transmitted through the chain when at anchor.The chain should be secured with a chain stopper or the rope secured to a cleat, bollard or some other load bearing point. Maxwell has created a new chain stopper who is height matched to our popular RC series range of windlasses.
Features:
Height matched to suit chain level of RC series windlasses which means no packers or plinths are necessary.Body and pin made from 316 stainless steel and pawl made from high strength 2205 stainless steel.Takes weight off the windlass and prevents accidental 'free fall' of the anchor while under way.Has a safe working load greater than the chains it is designed to work with (DIN766, G30 & G43).High quality mirror polished finish.Pawl shaped to match chain preventing damage to the galvanising caused by traditionally shaped pawls.